Adeus ao “Skate”: Toyota patenteia nova arquitetura para baterias de carros elétricos
A era dos carros elétricos altos e robustos pode estar com os dias contados. Novas patentes registradas pela Toyota, publicadas em janeiro de 2026, revelam que a montadora japonesa está desenvolvendo uma forma de tornar os conjuntos de baterias muito mais finos e discretos, permitindo o retorno triunfal de designs mais baixos, como sedãs e hatchbacks esportivos.
Toyota patenteia nova arquitetura para baterias de carros elétricos
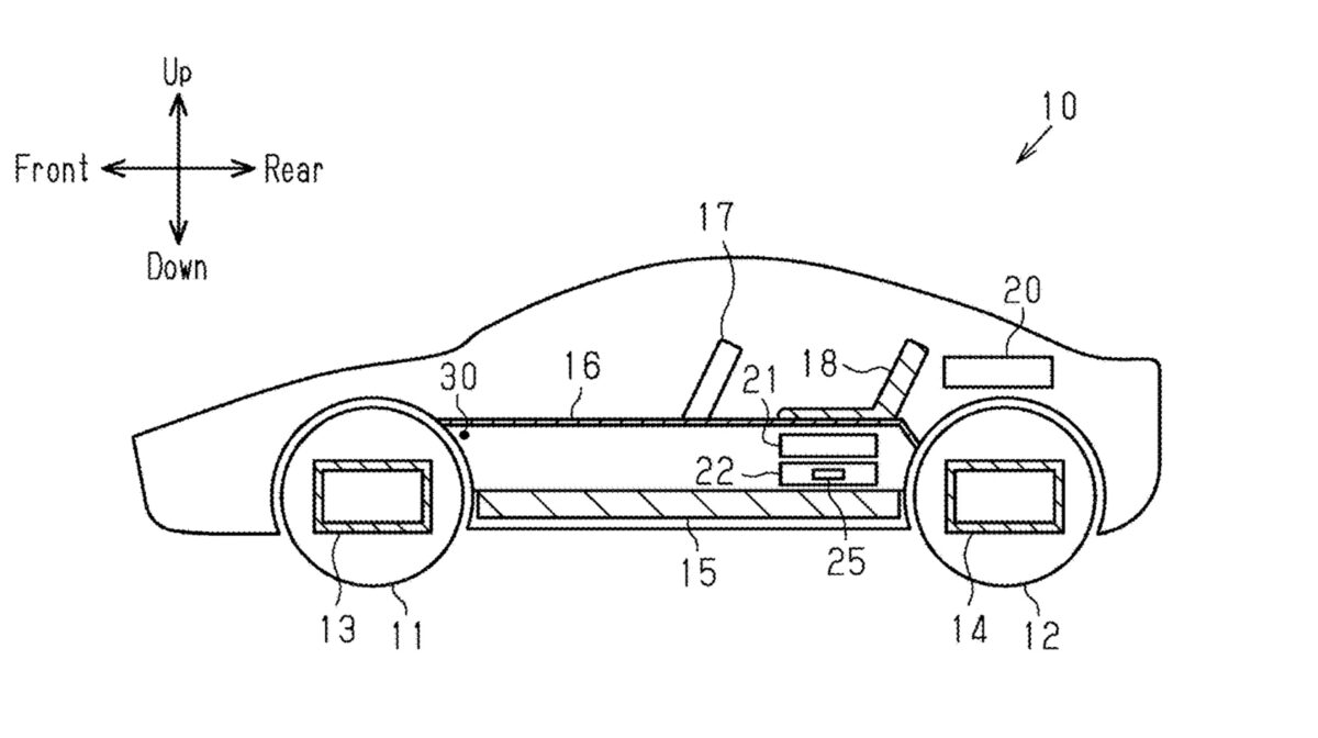
A inovação consiste em retirar os componentes pesados do trem de força (como unidades de controle de potência e caixas de junção) de cima da bateria e realocá-los em “túneis” centrais entre os bancos ou nas extremidades do veículo.

Atualmente, a maioria dos elétricos utiliza a plataforma “skate”, que eleva o assoalho do carro devido à espessura da bateria. A proposta da Toyota muda esse jogo:
-
Túnel Central Estratégico: Ao posicionar controladores de potência em um túnel entre os bancos dianteiros, o assoalho pode ser rebaixado, criando uma cabine mais espaçosa.
-
Distribuição de Peso: A movimentação desses componentes altera o centro de gravidade, o que promete uma dirigibilidade muito mais ágil e precisa.
-
Eficiência de Cabos: A nova organização reduz o comprimento dos cabos de alta tensão, economizando peso e aumentando a eficiência energética do sistema.

O Retorno da Emoção: Câmbio Manual em Elétricos?
Um detalhe fascinante encontrado nos documentos de patente é a inclusão de um “simulador de câmbio manual”. A tecnologia, que já havia sido testada em protótipos da Lexus, visa resgatar o prazer de dirigir para entusiastas, simulando trocas de marcha e o comportamento de um motor a combustão em um veículo totalmente elétrico.
Embora o registro de uma patente não garanta a produção imediata, ele sinaliza que a Toyota está focada em resolver o maior problema visual dos elétricos atuais: a falta de variedade em formatos de carroceria mais elegantes e baixos.
Leia aqui: Novo Ford Everest é confirmado para o Brasil! SUV chega para brigar com Toyota SW4
Sou Robson Quirino. Formado em Comunicação Social pelo IESB-Brasília, atuo como Redator/ Jornalista desde 2009 e para o segmento automotivo desde 2019. Gosto de saber como os carros funcionam, inclusive a rebimboca da parafuseta.